转子秤粉体定量喂料计量系统工作原理分享
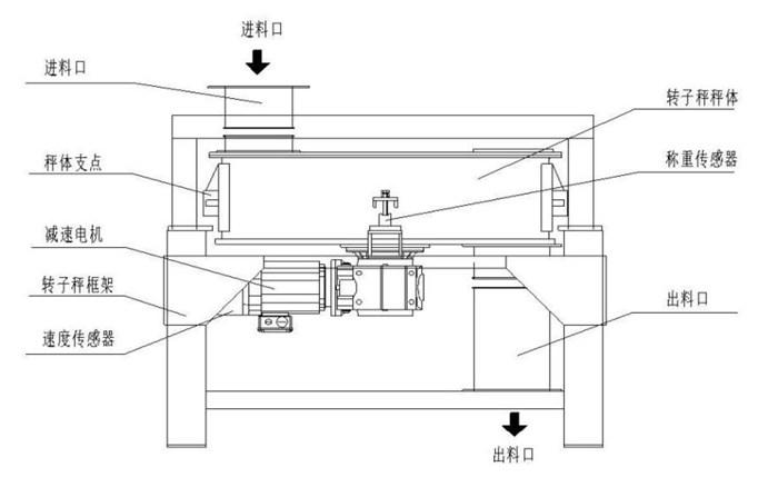
煤粉转子称重器由转子、安装架、传动装置、重量测量系统和软接头等部件构成。将转子和密封板装入防爆壳体内,整个转子秤壳体和传动装置被组成一个整体,悬挂在一个框架内。框架上有两个固定滚动轴承座,用于支撑和悬挂转子秤。煤粉转子秤在运行过程中,进料口部位受到严重的冲刷磨损。该区域的介质环境恶劣,经常导致进料口磨损严重,严重时可能会导致壳体被穿孔,从而给设备造成重大损害。

煤粉计量控制系统的主要组成部分有:煤粉称重仓、仓重传感器、仓底螺旋闸门、FR粉体喂料机、RWF型转子秤、气体均压装置、锁风装置和电气控制部分。这个称重仓是由三个重量传感器支撑的,处于悬挂状态。FR喂料机被安装在称重仓的下方,它的重量被计入仓库的原始重量。
物料进入预给料仓后,预给料电机开始转动,使物料平稳均匀地进入转子秤。称重传感器将物料的重量信号转化为电信号,并经过放大器放大后,进入PLC进行采集处理。转子秤的价格是多少?答:经过转换后,转子秤会将另一路信号转化为脉冲频率,再由变频器将速度转换,最后进入PLC进行采集和处理。PLC利用采集的两路信号进行运算处理,然后根据给定的流量比较进行PID运算,输出控制量来控制转子秤的变频器和预给料的变频器。通过改变电机的速度,使系统可以动态地保持在给定的流量上,实现稳定运行。

转子秤常见故障之一是运行时突然跳停。当变频器过载时,使用手抬卡尤其困难,说明可能有异物卡在转子里面。要先通过手动或机旁的开动来使转子反向旋转,把异物推到出料口,然后吹走。如果手提的力气很大,只能调大间隙来卸下进风管,取出异物。转子秤观察孔漏料,转子秤图片,多是送煤风机风量过大所致。通常的做法是,在风管的进料口安装一条旁路管道,并且配置一个手动蝶阀来进行调节。这样做可以减少对秤体出料口和上下耐磨套的磨损。
我们是以生产自动化测控设备为主,产品覆盖自动化控制设备、动态计量设备以及生产线解决方案设计与生产的制造商和供应商。是一家集解决方案、生产制造、安装调试和售后服务于一体的综合性生产企业。我们只做更专业的计量设备!注重品质、保障服务、专注于自动化计量是我们一贯的宗旨,欢迎每一位客户来厂参观考察。
给料机的工作原理
振动给料机是利用振动器中的偏心块旋转产生离心力,使筛厢、振动···
有机肥半湿物料粉碎机粉碎物料的特点?
半湿物料粉碎机多用于有机肥生产加工环节,粉碎鸡粪、腐殖酸纳等···
高精度智列式皮带秤主要由五部分组成
高精度智列式皮带秤1、1-8组icszl型智列式皮带秤称重桥架,单托辊···
有机肥皮带输送设备与其他有机肥设备的区别表现
皮带输送机性能优点:功能定位的核心差异,是皮带输送设备与其他···
如何配置有机肥粉碎机设备?
半湿物料有机肥粉碎机链式有机肥粉碎机链式有机肥粉碎机综上,有···
螺旋给料机堵料原因大揭秘!
今天咱们就来好好唠唠螺旋给料机堵料都有哪些原因。螺旋给料机的···
皮带机安装与跑偏问题汇总
皮带机常见问题之一,就是皮带跑偏。安装的质量好坏,对皮带跑偏···
皮带秤循环链码和挂码效验哪个好?电子皮带秤效验方法
以卷扬链码装置和循环链码装置为例,其工作原理:皮带秤上平放标···
上海选螺旋输送机?这家本地老厂的设备藏着不少实用优势
而上海平强包装机械制造有限公司,就是不少企业的共识之选,它家···
